
316不锈钢开槽圆柱头螺钉GB65
规格尺寸:M1.6-M10
标准号:GB65
材质:316不锈钢
头型:圆柱头
商品详情
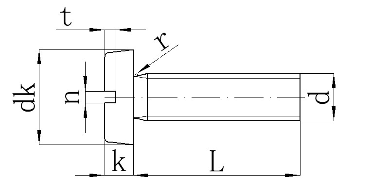
产品图纸

产品名称:
316不锈钢开槽圆柱头螺钉GB65
产品参数


【产品优势】
抗腐蚀性强:
316不锈钢含钼元素,比普通不锈钢更耐盐雾、酸碱腐蚀,适合长期暴露在潮湿或污染环境中的设备使用。
操作便捷:
一字开槽设计适配通用螺丝刀,安装快速省力,维护时不易滑槽,降低工具损耗风险。
高适配性:
圆柱头设计平整圆滑,密封性好,可与多种垫片、密封胶搭配使用,防止液体渗漏。
安全环保:
材质无磁性、不含重金属,满足食品级和医疗设备卫生标准,安全可靠。
寿命持久:
经特殊处理表面光滑防锈,长期使用不易老化或变形,减少更换频率。
【基础对比】
对比普通不锈钢螺钉:
316材质耐腐蚀性明显更优,适合化工、海洋等恶劣环境,使用寿命更长。
对比碳钢螺钉:
无需镀层防锈,避免涂层脱落导致的污染,维护成本低。
对比十字槽螺钉:
一字槽工具更易获取,应急情况下可用简易工具拆卸,灵活度高。
对比塑料紧固件:
机械强度高,耐高温高压,稳定性更适合重工业场景。
对比内六角螺钉:
开槽设计更节省安装空间,尤其适合狭窄区域操作。
【应用案例】
船舶设备装配:
用于甲板或船舱内金属部件固定,有效抵抗海水侵蚀,延长设备使用寿命。
食品加工设备:
连接不锈钢罐体或管道,材质安全无污染,符合食品卫生监管要求。
医疗仪器安装:
固定消毒设备外壳,耐高频次清洁剂冲刷,确保长期无菌环境。
化工反应罐密封:
在强酸碱环境中稳定运行,避免锈蚀导致的泄漏风险。
户外标识牌固定:
圆柱头设计美观平整,抗风雨侵蚀,保持标识长期稳固。
【注意事项】
工具适配性:
使用尺寸匹配的一字螺丝刀,避免槽口损伤或工具打滑。
安装环境清洁:
安装前需清除接触面油污或杂质,确保螺纹咬合紧密。
防电化学腐蚀:
与异种金属接触时,需添加绝缘垫片,防止不同材质间的腐蚀反应。
定期检查维护:
高频振动环境中建议每半年检查紧固状态,及时更换松动螺钉。
避免超负荷使用:
重载荷场景需配合加强螺母或支撑结构,避免单一螺钉承压过大。
【技术问答】
常见问题:GB65标准螺钉适用于高温环境吗?
回答:316材质不锈钢开槽螺钉具有良好的耐高温性能,常规高温工况下可稳定使用,但需避免持续极端高温场景。
常见问题:一字槽螺钉滑槽了怎么办?
回答:可使用橡胶垫增大摩擦力,或更换加厚刀头的螺丝刀。若槽口严重损坏,建议专业钻孔取出并更换新螺钉。
常见问题:能否重复使用该螺钉?
回答:建议一次性使用以确保紧固强度,重复拆卸可能造成螺纹磨损或防锈层破坏。
【保存提示】
干燥防潮:
存放于干燥通风处,避免潮湿环境引发表面氧化。
独立包装:
散装螺钉建议分隔存放,防止碰撞摩擦划伤表面。
远离化学品:
避免与腐蚀性液体或气体同区域储存,保持包装密封。
定期检查库存:
长期存储时注意检查是否有锈迹,轻微氧化可用专用清洁剂擦拭。
工具配套保存:
随箱配置对应规格的螺丝刀,便于取用和应急维护。